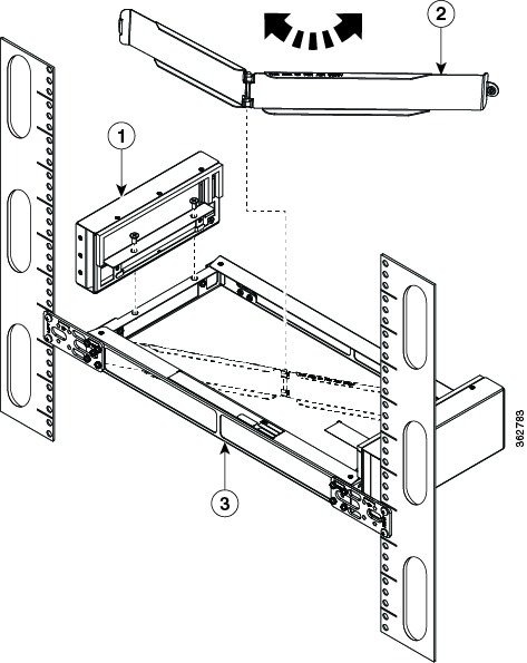
While the ASR9000v/Satellite is based on the Cisco CPT-50, you cannot convert between the 2 devices by loading different software images. You can't use the 9000v as a standalone switch, it needs the ASR9000 host. Visual differences include that the 9000v starts the port number at 0, where the CPT starts at 1. Cisco Supplied Materials ThefollowingmaterialsarerequiredandareshippedwiththeCiscoASR9000vsatelliteshelf(wrappedin. Cubase torrent. Figure 9: Mounting the Brackets on the Cisco ASR 9000v Satellite Shelf for a 23-Inch (584.2-mm) ANSI Rack Configuration Cisco ASR 9000 Series Aggregation Services Router Satellite Systems Installation Guide 17 Installing and Maintaining the Cisco ASR 9000v Satellite Shelf. Does anyone know if there is a command to check the Optical TX / RX levels for the TenGig uplink interfaces on Cisco ASR 9000V satellites? I am aware of the standard command, for example: show controllers tenGigE 0/0/0/0 phy. Or, for example a gigabit interface on a satellite module: show controllers gigabitEthernet 101/0/0/43 phy.

Cisco Asr 9000v Satellite
- Installation
- Cisco ASR 9000 Series Aggregated Services Router VSM (Virtualized Services Module) Card Installation Guide
- Cisco ASR 9000 Series Aggregation Services Router Ethernet Line Card Installation Guide
- Cisco ASR 9000 Series Aggregation Services Router Hardware Installation Guide
- Cisco ASR 9000 Series Aggregation Services Router ISM Line Card Installation Guide
- Cisco ASR 9000 Series Aggregation Services Router Overview and Reference Guide
- Cisco ASR 9000 Series Aggregation Services Router SIP and SPA Hardware Installation Guide
- Cisco ASR 9000 Series Aggregation Services Router SIP and SPA Hardware Installation Guide
- Cisco ASR 9000 Series Aggregation Services Router Satellite Systems Installation Guide
- Cisco ASR 9901, ASR 9001, and ASR 9001-S Routers Hardware Installation Guide
- Migration
- Migration Guide for Cisco ASR 9000 Series Routers
- Migration Guide for Cisco ASR 9000 Series Routers
- Regulatory Compliance and Safety
Cisco 9000v Satellite Communicator
- Installation
- Cisco ASR 9000 Series Aggregated Services Router VSM (Virtualized Services Module) Card Installation Guide
- Cisco ASR 9000 Series Aggregation Services Router Ethernet Line Card Installation Guide
- Cisco ASR 9000 Series Aggregation Services Router Hardware Installation Guide
- Cisco ASR 9000 Series Aggregation Services Router ISM Line Card Installation Guide
- Cisco ASR 9000 Series Aggregation Services Router Overview and Reference Guide
- Cisco ASR 9000 Series Aggregation Services Router SIP and SPA Hardware Installation Guide
- Cisco ASR 9000 Series Aggregation Services Router SIP and SPA Hardware Installation Guide
- Cisco ASR 9000 Series Aggregation Services Router Satellite Systems Installation Guide
- Cisco ASR 9901, ASR 9001, and ASR 9001-S Routers Hardware Installation Guide
- Migration
- Migration Guide for Cisco ASR 9000 Series Routers
- Migration Guide for Cisco ASR 9000 Series Routers
- Regulatory Compliance and Safety